本文作者:admin

龙虎榜丨三柏硕今日跌停 知名游资宁波桑田路净卖出753.48万元

admin 2023-11-23 25
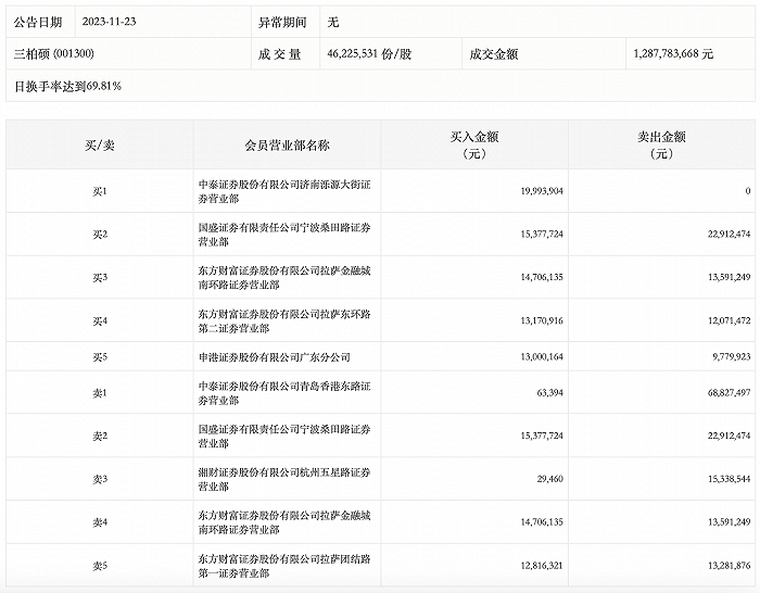
龙虎榜丨三柏硕今日跌停 知名游资宁波桑田路净卖出753.48万元摘要: 11月23日,三柏硕今日跌停,龙虎榜数据显示,上榜营业部席位全天成交2.45亿元,占当日总成交金额比例为19.02%。其中,买入金额为8915.8万元,卖出金额为1.56亿元,合...

龙虎榜丨三柏硕今日跌停 知名游资宁波桑田路净卖出753.48万元

11月23日,三柏硕今日跌停,龙虎榜数据显示,上榜营业部席位全天成交2.45亿元,占当日总成交金额比例为19.02%。其中,买入金额为8915.8万元,卖出金额为1.56亿元,合计净卖出6664.5万元。

具体来看,知名游资现身龙虎榜,中泰证券青岛香港东路证券营业部、宁波桑田路分别卖出6882.75万元、2291.25万元;中泰证券济南泺源大街证券营业部、宁波桑田路(国盛证券宁波桑田路证券营业部)分别买入1999.39万元、1537.77万元。

龙虎榜丨三柏硕今日跌停 知名游资宁波桑田路净卖出753.48万元

阅读