本文作者:admin

北交所新股再现大涨!次新股也亮眼,机构现身大手笔买入

admin 2023-11-10 12
北交所新股再现大涨!次新股也亮眼,机构现身大手笔买入摘要:   来源:北证资讯   今日前进科技正式在北交所上市,这只新股盘中一度涨幅翻倍,全天收涨57%,延续近期北交所新股上市首日的赚钱效应。  本周北交所市场明显回暖,北证50指数一...

  来源:北证资讯 

  今日前进科技正式在北交所上市,这只新股盘中一度涨幅翻倍,全天收涨57%,延续近期北交所新股上市首日的赚钱效应。

  本周北交所市场明显回暖,北证50指数一周累计涨幅达6.5%,多只次新股表现亮眼。近日上市的次新股阿为特登上了今日的“龙虎榜”,机构现身大手笔买入。

  今日新股涨幅一度翻倍

  11月10日,北交所迎来第229只股票,前进科技上市首日再现赚钱效应。

  前进科技高开46.5%,开盘后拉升一度触及临停,盘中最高大涨逾120%,午后尾盘涨幅回落,不过收盘涨幅仍达57%,报21.98元,总市值为11.83亿元。该股成交活跃,全天换手率为89%,总成交额为2.76亿元。

北交所新股再现大涨!次新股也亮眼,机构现身大手笔买入

  资料显示,前进科技的发行价格为13.99元/股,发行市盈率为15.06倍。公司的主营业务为铝合金冷凝式热交换器的研发、生产和销售。公司主要产品为铝合金冷凝式热交换器。冷凝式热交换器为全预混冷凝式燃气壁挂炉的核心部件之一,是将天然气燃烧产生的热量传递至供暖回水及生活用水的部件。

  公司此次发行1346万股股份,募集资金扣除发行费用后用于公司主营业务相关项目,包括铝合金冷凝式热交换器扩能建设项目、铝合金冷凝式热交换器技改项目和研发中心建设项目,其中铝合金冷凝式热交换器扩能建设项目计划全部使用募集资金投入,拟投入1.4亿元。

  业绩方面,在经历业绩下滑的2021年后,前进科技2022年营收和盈利同比双双实现增长,去年公司营收为2.19亿元,净利润为5206万元,扣非后净利润为5000万元。公司2023年上半年盈利为2624万元,扣非后净利润为2491万元。

  开源证券北交所研究中心诸海滨团队分析,前进科技同行业可比公司的PE 2022均值是40.0倍,中值为36.3倍。前进科技有望通过本次募投项目引进国内外先进设备和软件,提高生产效率,新增年产能家用热交换器14万台,商用热交换器6万台,加深欧洲市场优质客户合作,深化行业协作,促进成果转化,满足海外订单增长需求,同时配合贝卡尔特集团在中国市场的布局,借此契机,逐步切入国内全预混冷凝式燃气壁挂炉热交换器市场,紧抓国内市场机遇,扩大公司市场份额。

  市场人士认为,前进科技上市处在一个好时机,自阿为特以来的新股均出现赚钱效应。阿为特上市首日涨幅达1008%,在经历两个跌停后重现涨势,今日大涨逾14%,收盘报36.73元,较其发行价6.36元累计上涨4.77倍。

  此后上市的并行科技、立方控股、美心翼申上市首日最高涨幅都超过一倍,当天收盘涨幅均超50%。算力概念股并行科技自上市以来一路走高,本周一度触及80.93元,今日收报72.2元,本周累计涨幅达45%,较其发行价29元累计涨幅近1.5倍。

  多只次新股走势亮眼

  北交所市场近期持续回暖,北证50指数本周前四个交易日连续上涨,本周累计涨幅为6.5%,日总成交额持续超过18亿元,其中11月8日成交额达33亿元。

  市场人士指出,这次北交所行情真的不一样,在11月8日放量大涨后,市场依旧有序地温和上涨,一部分“歇菜”,一部分继续活跃,很健康。

  在北交所市场资深人士、广东力量私募基金管理有限公司总经理朱为绎看来,成交金额是观察北交所活跃的重要指标。他认为,北交所成交金额稳定在10亿元以上,就比较好,否则大家就很悲观。10亿元以下的成交基本上是场内市场博弈,超过10亿元了,沪深的资金就会进来。“ 当然,这个数据随着上市公司数量的增加会有所变化,但是这一两年10个亿成交是一个很重要的指标。也许明年会变成15个亿,甚至20个亿。”

  朱为绎认为,本周二并行科技作为一个次新股涨停,很有示范意义,把上市第一天竞价进入的投资者全部解放出来。北交所本次行情的启动主要是阿为特10月27日上市当天最高涨12倍带来的,然后是几个老股涨停。而并行科技作为次新股涨停,是北交所从来没有遇到过的。

  除了新股外,本周次新股也是北交所市场的一个亮点。今天不仅阿为特大涨,9月末上市的开特股份今日也冲高创出上市以来股价新高,该股今日收报9.05元,较其发行价7.37元累计上涨了23%,本周累计涨幅为15%。

  7月上市的锦波生物成为北交所第一强势股,这只次新股今日再度攀升,最高触及296元,刷新股价历史纪录,收盘报290元,本周累计涨幅为27.4%,总市值达197亿元。

北交所新股再现大涨!次新股也亮眼,机构现身大手笔买入

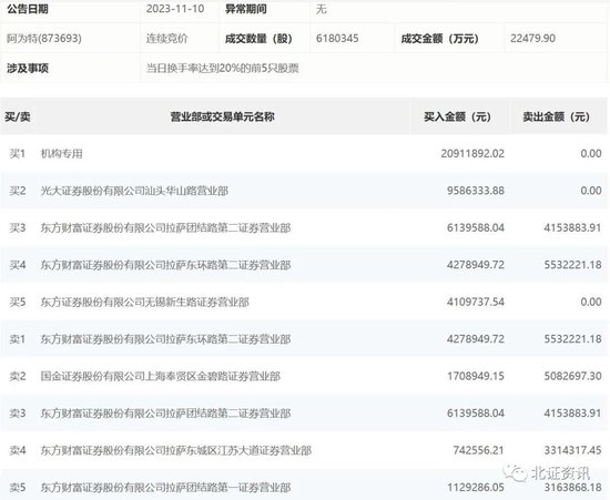
  个股活跃,4只个股登上了今日的“龙虎榜”,其中次新股阿为特的买入榜出现机构大手笔买入。

  阿为特的买入榜一“大哥”为机构专用席位,该机构今日合计买入2091万元,为北交所鲜见,该机构卖出阿为特0元。而位居买入榜二的光大证券(维权)股份有限公司汕头华山路营业部共买入阿为特959万元,卖出金额同样为0。

北交所新股再现大涨!次新股也亮眼,机构现身大手笔买入

  被称为散户聚集地的“拉萨天团”也出现在阿为特的买卖榜上,其中东方财富证券股份有限公司拉萨团结路第二证券营业部今日买入阿为特614万元,同日卖出415万元。

阅读