炒股就看金麒麟分析师研报,权威,专业,及时,全面,助您挖掘潜力主题机会!
来源:IPO日报
在全面注册制的时代下,信息披露的重要性愈发凸显。然而,有这么一家公司,它披露的数据却和第一大供应商的数据对不上,且差异明显。
这家公司就是广州三晶电气股份有限公司(下称“三晶股份”)。
9月4日,三晶股份将IPO上会,拟登陆上交所主板。
本次IPO,三晶股份拟募集资金12.04亿元,用于三晶新能源年产约47万台数字能源产品与系统智能制造建设项目、研发中心建设项目、全球营销服务网络建设项目和补充流动资金。
近年来,由于境外市场繁荣,公司收入和净利润均快速增长。
但公司不仅存在“数据打架”的情况,还疑似隐瞒了代持行为……公司存在的这些信披问题,都让人不禁发出疑问,公司业绩增长如此快速是否真实可信?
来源:官网
业绩猛增
据悉,三晶股份的主营业务为光伏并网逆变器、储能逆变器及系统、电机驱动与控制产品的研发、设计、生产和销售,其中光伏并网逆变器应用于家庭及工商业分布式光伏发电场景,储能逆变器及系统应用于家庭光伏储能场景,电机驱动与控制产品应用于工业自动化及智能家居领域。
2020年至2022年(下称“报告期”),三晶股份实现的营业收入分别为42617.16万元、71568.76万元、155101.84万元,实现净利润分别为5550万元、9868.89万元、28560.76万元。
可以看出,报告期内,公司收入和净利润均快速增长。
IPO日报发现,这主要是因为公司的境外收入大幅增长。
报告期各期,公司来自境外市场的收入分别为20082.58万元、48323.38万元、137614.61万元,境外销售占比分别为47.38%、68.03%和88.85%,境外销售占比逐年提升。公司主要外销国家包括意大利、西班牙、巴西、荷兰、比利时等国。
但这一业绩增速或将难以持续。
据IPO日报发现,意大利为公司主要外销国家,2022年公司在意大利实现销售收入65684.55万元,占外销收入比例为47.73%。
2022年11月,意大利调整了新生态奖励政策(Ecobonus),下调针对户用储能等一系列补贴的幅度,2023年将光伏储能总投资的补贴幅度由原来110%下降至90%,而后2024年、2025年分别降至70%、65%,并且设置家庭人均收入门槛(年收入15000欧元),补贴幅度有所退坡,同时在实际执行中,能否按照优惠政策获得全部补贴,也存在一定不确定性。这对公司在意大利地区销售带来不利影响。
同时,公司的前五大客户集中度也显著提高。
报告期内,公司前五名客户销售收入占主营业务收入的比例分别为30.55%、38.72%和 58.19%,尤其是 2022 年客户集中度较高。2021-2022年,公司向 Genertec Italia SRL 销售收入占主营业务收入的比例分别为17.95%和39.84%。
“数据打架”
然而公司存在一些的信披问题,让人不禁发出疑问,公司业绩增长如此快速是否真实可信?
招股书显示,国内知名锂电池制造企业广州鹏辉能源科技股份有限公司(下称“鹏辉能源”)是三晶股份主要的电池模组供应商。
2021-2022年,公司向鹏辉能源采购金额分别为0.70亿元和3.21亿元,占当期采购总额的比例分别为15.6%、29.5%,鹏辉能源在这两年内一直是公司的第一大供应商。
招股书透露,鹏辉能源于2019年开始与公司建立合作关系。报告期内,公司储能产品产销量逐年增加,对电池模组采购需求增加。报告期各期,鹏辉能源均为公司第一大电池模组供应商。公司与鹏辉能源合作关系良好,向其规模化采购电池模组,有利于降低采购成本,保证供应稳定性。
但奇怪的是,鹏辉能源披露的数据却与公司对不上。
鹏辉能源2022年年报显示,鹏辉能源向第四大客户、第五大客户的销售金额分别为5.03亿元、3.09亿元。这与三晶股份在招股书中披露的采购金额3.21亿元分别差了1.82亿元、1151万元,均有较大差距。
那么,为什么会产生如此大的数据差异?三晶股份披露的数据是否真实准确?
疑似代持
除了和大供应商“数据打架”,公司似乎在股权上面还存在隐瞒。
股权结构方面,三晶股份的控股股东、实际控制人为卢雪明、幸志刚,两人已签署《一致行动协议》。
具体来看,卢雪明、幸志刚分别持有公司1766.02万股、1418.80万股的股份,占公司股份总数的33.37%、26.81%;另外,卢雪明通过晶英荟间接持有公司0.04%的股份并控制晶英荟。二人合计持有本公司60.22%的股份,实际可支配公司表决权比例为64.94%。
其中,卢雪明为幸志刚姐姐幸志萍的配偶,现担任公司董事长;幸志刚现担任公司副董事长、幸志萍现任公司董事。
招股书显示,公司历史沿革中不存在股权代持、委托持股等情形,不存在股权争议或潜在纠纷等情形,但IPO日报发现,公司创始人不仅存在股权之争,还疑似存在股权代持的行为。
裁判文书网公开的一封裁定书显示,在三晶股份之前,存在着一家中山三晶电气有限公司(下称“中山三晶”),由朱荣华与卢雪明、幸志刚共同创办,朱荣华为其法人。
朱荣华诉称,2005年9月,卢雪明、幸志刚在广州成立广州三晶电气有限公司(三晶股份前身,下称“三晶有限”),并将中山三晶的所有资产转移到三晶有限继续经营,再于2005年11月25日在其不知情的情况下,持伪造其签名的《股东会决议》、《清算报告》等文件,到当地工商局处将中山三晶注销。
在此案件中,朱荣华请求判决,工商局作出的注销中山三晶的行政行为无效、恢复中山三晶的工商营业登记等。
但因为上述案件已超过相关规定的起诉期限,且无正当理由,法院驳回了朱荣华的起诉。
更为重要的是,朱荣华的证言透露出一个信息,三晶有限是由目前的两个实控人卢雪明、幸志刚成立。
但招股书显示,2005年7月20日,三晶有限设立,注册资本为50万元,其中卢和英出资30万元,卢雪明出资20万元。
这似乎与朱荣华的证言相悖?
招股书显示,2015年3月10日,卢和英将其持有的公司23.60%股权赠予股东幸志刚,将其持有的公司9.90%股权赠予新股东幸志萍。2015年9月,三晶有限整体变更为股份公司。
需要指出的是,卢和英是幸志刚和幸志萍的母亲。
那么,三晶有限成立之初的实际出资人到底是卢和英还是幸志刚?卢和英是否是为儿子幸志刚代持股份?
相同的注册地址
在销售模式方面,三晶股份采用直销与经销相结合的销售模式。
报告期内,三晶股份来自直销模式的收入占比分别为69.82%、63.28%和46.02%,来自经销模式的收入占比分别为30.18%、36.72%和53.98%。
可以看出,三晶股份来自经销模式的销售收入占比持续上升。
其中,广州晶创新能源科技有限公司(下称“晶创能源”)为三晶股份报告期内前十大经销商客户。报告期内,公司对晶创能源的销售金额分别为694.72万元、1131.54万元、792.54万元。
事实上,早在2019年,晶创能源就成为了三晶股份第八大经销商,对应的销售金额为283.92万元。
也就是说,晶创能源成立当年便成为三晶股份的前十大经销商,之后也一直是公司前经销商。
天眼查显示,晶创能源成立于2019年6月12日,许兆锋持有其100%股份,并担任其执行董事兼总经理,为晶创能源实际控制人。
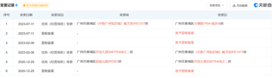
天眼查信息显示,晶创能源成立时的注册地址为广州市黄埔区荔枝山路9号301房。2020年12月25日,晶创能源的注册地址变更为广州市黄埔区开创大道3357号408之二房,2023年2月又变更为广州市黄埔区(中新广州知识城)峻文街5号1317房,2023年7月11日又变更为广州市黄埔区斗塘路1号A1栋816房。
值得注意的是,三晶股份的注册地址为广州高新技术产业开发区科学城荔枝山路9号,而广州高新技术产业开发区就属于广州黄浦区。
也就是说,晶创能源成立初期与三晶股份在同一个注册地址。
那么,晶创能源为什么刚成立就能成为公司的经销商?晶创能源的原注册地址还与三晶股份相同,和三晶股份之间是否存在其他的关联?
这一关联也引起了上交所的关注。
在交易所的追问下,公司才坦言,晶创能源创始人许兆锋2015年至2019年在三晶股份担任销售经理。2019年,许兆锋因个人原因从公司处离职后成立晶创能源。晶创能源成立初期以经销三晶股份的光伏并网逆变器产品为主,经营规模相对较小,不需要常规办公场所,因此暂时将注册地址登记为三晶股份的办公地址。后来随着经营规模逐步扩大,晶创能源租赁了常规办公场所,并对注册地址进行了调整,2020年12月其注册地址已变更为广州市黄埔区开创大道3357号408之二房。







