本文作者:admin

“行贿”“摘牌”“终身禁入”!“毁灭性打击”的北部资产

admin 2023-08-14 18
“行贿”“摘牌”“终身禁入”!“毁灭性打击”的北部资产摘要:   炒股就看金麒麟分析师研报,权威,专业,及时,全面,助您挖掘潜力主题机会!  来源:券业行家   北部资产卷入单位行贿案,摘牌+终身禁入!  最新出炉的证监会公告,对投资咨...

  炒股就看金麒麟分析师研报,权威,专业,及时,全面,助您挖掘潜力主题机会!

  来源:券业行家 

  北部资产卷入单位行贿案,摘牌+终身禁入!

  最新出炉的证监会公告,对投资咨询机构北部资产予以“毁灭性打击”。而这一切,来自数年前的那起单位行贿案。

  又一家投资咨询机构摘牌

  在行家印象中,投资咨询机构的监管处罚并不少见。被证监会“摘牌”的前车之鉴也并不遥远。

  2022年3月,证监会依法撤销上海证华证券投资咨询顾问有限公司(原名上海新兰德证券投资咨询顾问有限公司,下称“上海新兰德”)和上海森洋投资咨询有限公司(下称“上海森洋”)的证券投资咨询服务业务许可。据证监会披露,两家投资咨询机构涉及提供、传播虚假或者误导投资者的信息,向投资人承诺收益等违法行为,严重扰乱市场秩序,社会影响特别恶劣,相关人员已构成诈骗罪,依法承担刑事责任。

  今年4月,证监会决定撤销福建天信投资咨询顾问股份有限公司(简称:福建天信投顾)证券投资咨询业务资格。原因是其“先后两次向证券监管部门报送含有虚假陈述的情况说明”,“性质恶劣,情节严重”。

  时隔数月,北部资产经营股份有限公司(原大连北部资产经营有限公司,简称:北部资产),因为颇有些相似的原因,收到了顶格处罚。

  这是什么情况?

  备案为私募基金管理人

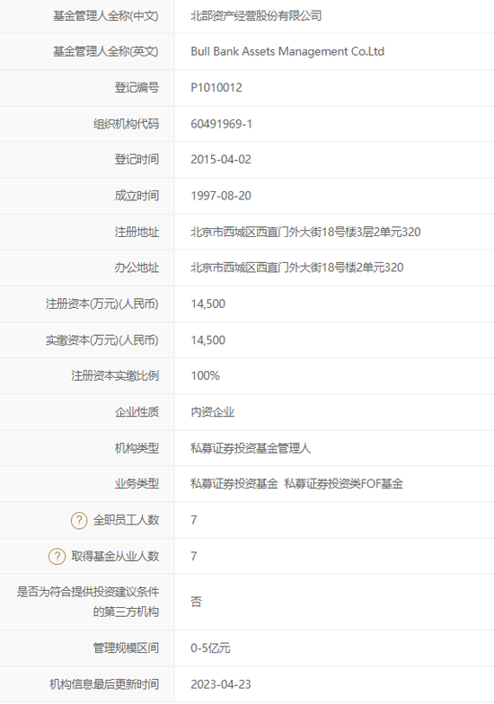
  工商信息显示,北部资产的资历颇为“古老”:成立于1997年8月月,至今已有26年。

  股权穿透显示,现有三家股东,禾银控股有限公司(简称:禾银控股)持股88.11%,宁波禾银精华投资管理合伙企业(有限合伙)(简称:禾银精华)持股7%;自然人王醒直接持股4.89%,连同由其控股的禾银控股及旗下禾银精华,合计实控比例为80.96%。北部资产旗下唯一一家参股子公司,为北天治北部资产管理有限公司(简称:天治北部),持股49%。

“行贿”“摘牌”“终身禁入”!“毁灭性打击”的北部资产

  行家意外发现,北部资产在2015年4月登记备案为私募证券投资基金管理人。全部7名员工均拥有基金从业资格。不过,这家私募机构仅有一只产品,规模不足500万元。

“行贿”“摘牌”“终身禁入”!“毁灭性打击”的北部资产

  据中基协备案信息,北部资产实控人王醒的履历颇为“光鲜”。早在是上个世纪便在北部资产董事长、总经理“一肩挑”,曾在股东方禾银控股担任董事长,曾在北部资产旗下天治北部任总裁。而在社会兼职方面,他曾是中证协常务理事会副部长、证券投资咨询专委会主任委员,中国保险学会常务理事。

“行贿”“摘牌”“终身禁入”!“毁灭性打击”的北部资产

  以代持方式行贿公职人员

  单看中基协备案信息,北部资产此前没有红字提示信息。然而,证监会本次发布的监管函,却让行家感到触目惊心。

  证监会指出,北部资产存在两项违规,均与旗下天治北部的股权代持事件有关。

  经查,2009年至2014年,北部资产利用高某波担任吉林信托党委书记、董事长的职务便利开展项目合作,从吉林信托收取“顾问费”,并按事先约定给予高某波回扣。

  2013年8月,北部资产与其他公司合资设立天治北部,北部资产的出资中包含代高某波出资用于购买天治北部股权的500万元,该部分股权由北部资产代高某波持有。

“行贿”“摘牌”“终身禁入”!“毁灭性打击”的北部资产

  要知道,天治北部仅有两家股东:天治基金管理有限公司(简称:天治基金)持股51%,北部资产持股49%。

  据天天基金网,这家成立于2003年的老牌公募,管理规模84.99亿元,行业排名第133位。

  而天治基金的股东方,指向吉林省信托有限责任公司(简称:吉林信托)。

  公开信息显示,吉林信托首任董事长为张兴波。2007年,高福波担任董事长;2015年10月,由高福波变更为李伟;2018年7月,由李伟变更为邰戈;2021年5月,由邰戈变更为张洪东。

  耐人寻味的是,张兴波、高福波、李伟、邰戈,四任董事长均相继落马。其中,邰戈曾任东北证券非独立董事,并出现在这家上市公司公告中。

  由此看来,北部资产的单位行贿,行贿的对象“高某波”,直指曾经引起重大反响的高福波案。

“行贿”“摘牌”“终身禁入”!“毁灭性打击”的北部资产

  纸包不住火。

  2019年6月3日,北部资产法定代表人、董事长、总经理王醒因涉嫌犯罪被刑事拘留,并于2019年6月17日被逮捕。2019年12月17日,吉林省敦化市人民检察院对北部资产、王醒提起公诉。2021年12月4日,吉林省敦化市人民法院作出(2021)吉2403刑初357号刑事判决书,认定北部资产为谋取不正当利益,其直接负责人王醒代表公司行贿,情节严重,构成单位行贿罪。

  证监会认定,北部资产以提供股权代持便利的方式向公职人员输送不正当利益,王醒作为直接负责的主管人员,违反《证券期货经营机构及其工作人员廉洁从业规定》(证监会令第145号,下称2018年《廉洁从业规定》)的相关规定。

  对监管机构瞒报重大事件

  也因为代持股权的非法行为,在长达近十年的时间里,北部资产对证券监管部门隐瞒了真相。

  2014年1月至2021年12月,北部资产逐月报送2013年12月至2021年11月《证券投资咨询机构月度监管报表》。在该报表的“资产负债表”中“长期股权投资”一栏,北部资产按照其持有天治北部股权进行会计核算,未排除代持的天治北部股权。

  2021年7月29日,北部资产根据北京证监局通知,向北京证监局报送《北部资产有限公司自查报告》。在该自查报告中,北部资产未如实报告代高某波持有天治北部股权、因涉嫌单位犯罪已被检察机关提起公诉等有关公司治理的情况。

  2022年1月26日,北部资产根据北京证监局要求报送2019年度、2020年度审计报告、财务报表等材料。在北部资产编制的财务报表及其附注中,北部资产称其对天治北部初始投资成本4,900万元,持股比例49%,与北部资产代高某波持有天治北部股权的实际情况不符;称其不存在应披露的未决诉讼,与北部资产因涉嫌单位犯罪被检察机关提起公诉的实际情况不符。

  证监会指出,北部资产向证券监管部门报送的文件、资料有虚假陈述或者重大遗漏,违法时间跨度长,虚假陈述、重大遗漏的内容涉及刑事犯罪,情节严重,涉嫌构成《证券、期货投资咨询管理暂行办第三十三条第一项规定的违法行为。

  撤销业务资格并终身禁入

  在本案的听证过程中,北部资产和王醒提出多项申辩意见,诸如“具体经办人员不知情、已披露上缴违纪款、积极配合调查”等为由,要求“从轻发落”。

  经复核,证监会对两者的申辩意见均不予采纳。

  2023年8月1日,证监会发布〔2023〕57号行政处罚决定书。因股权代持利益输送的行为,证监会对北部资产处以警告,对王醒处以警告,并处3万元的“顶格”罚款。

  而对报送虚假文件的行为,证监会决定:撤销业务资格。

  同一天,证监会下发《市场禁入决定书》(〔2023〕23号),对王醒采取终身市场禁入措施,即终身不得从事证券业务、证券服务业务或者担任证券发行人的董监高人员职务。

  行家查看了证监会官网,目前,北部资产仍在79家持牌的证券投资咨询机构名单中。据中证协从业人员信息,北部资产现有8名从业人员,均为投资顾问。

  截至今年上半年末,已有14家投资咨询机构(含分支机构)被采取暂停新增客户监管措施,尚未“服刑完毕”。

“行贿”“摘牌”“终身禁入”!“毁灭性打击”的北部资产

  秉持公心的行家,出于对行业合规的思考,曾经在监管信息汇总时收录了多家证券投资机构的违规行为。在这份名单中,江苏天鼎证券投资咨询公司(简称:江苏天鼎)曾以侵犯名誉为由发起投诉,却被腾讯驳回。

  对现存的证券投资咨询机构来说,后续将如何合规展业,或许是值得深思的问题。

阅读