大望财讯/文
金沙古酒冲刺“港股白酒第二股”?
6月29日,金沙古酒于贵州金沙朗月酒店隆重举办2023贵州酿酒协会专家品鉴会。
会上,金沙古酒董事长李瑞杰透露,金沙古酒2023年销售目标为15亿元,目前金沙古酒已经与毕马威、中金公司、竞天等上市辅导机构接洽,启动上市准备工作,预计在今年深圳秋糖会上隆重签约,计划2027年完成港股上市。
事实上,这并不是金沙古酒第一次公布赴港上市的消息。此前,在金沙古酒建厂101周年庆典晚宴暨新品发布会上,李瑞杰也曾透露金沙古酒港股上市计划,并高调宣称公司估值达500亿元。
值得一提的是,作为“港股白酒第一股”的珍酒李渡,在IPO前夕,其估值也才300多亿元,而想要冲刺“港股白酒第二股”的金沙古酒靠什么来撑起500亿的估值?
旗下数字藏品割韭菜?
“我认为随着国内对于酒类资本化的限制,去港股上市确实是大多数酒企的选择,但是筹备期也就一直两年,考虑到金沙古的销售体量与一贯做法,这么早宣布上市,我更倾向于认为,金沙古的港股上市是为了服务于企业目前的招商工作,本身是否能够港股上市还存在很多的未知数。”知趣咨询总经理、酒类分析师蔡学飞对大望财讯表示。
在香颂资本董事沈萌看来,港股相对A股的上市要求更加透明,所以只要满足相关条件,都能通过港交所的聆讯,但至于能不能募集预期的资金、是不是有较好的交易量和价格,就是另外一回事。
据金沙古酒官网显示,公司源自贵州四大酱香白酒烧坊之一的慎初烧坊。2011年,上市公司深圳宝德集团全资收购金沙古酒,并陆续投入资金用于产能扩建和品牌建设,使其迎来了新的发展机遇。
事实上,早在2021年“十四五”开局之时,金沙古酒就制定了其“十四五”规划:2021年实现10亿元,2022年20亿元,2023年40亿元,2024年80亿元,2025年160亿元。
在今年2月份举行的2023金沙古酒百城品牌升级赋能大会上,金沙古酒方面曾表示,2023年度营收目标生死线是9亿、中位线是15亿、天花板是22亿。
按照“十四五”规划,金沙古酒2023年的营收应该是40亿,可现如今李瑞杰提出金沙古酒2023营收天花板也才22亿,营收目标已拦腰斩半。
在蔡学飞看来,金沙古作为贵州区域中小型酒企,依靠前几年的酱酒热完成了企业的高速发展,但是目前行业进入存量挤压环境,整体增速放缓,酱酒更是进入了品类调整周期,又恰逢疫情与经济等负面影响导致行业库存过高,消费预期转弱等,这些都不利于金沙古的发展,何况金沙古本身就是低端贴牌酱酒,长期攀附金沙窖的品牌资源,品牌价值很有限,也缺乏主力产品,所以下调业绩目标也是理所当然的。
此前,宝德控股在2013年募资公告中披露,“预计2013-2015年金沙古酒销售收入分别为2亿元、5亿元和8亿元,净利润分别不低于6000万元、1.5亿元和2.4亿元。”
但实际上,2014-2015年,金沙古酒的主营业务收入分别为1006.6万元、901.94万元,净利润分别为32.68万元、30.22万元。远低于预期。
目前金沙古酒营收规模很可能在10亿元左右。据公开报道显示,2020年及2021年其营收分别为5亿元及10亿元。
值得一提是,金沙古酒曾入选贵州省2021年上市挂牌后备企业名单,但在贵州省此后发布的2022年及2023年名单中,并未发现金沙古酒的身影,其均未能入选,这或许也侧面印证了金沙古酒营收规模并不高。
在沈萌看来,一方面白酒的需求端并未出现大规模增长,在供给端不断扩大的背景下,供需失衡加剧,导致部分品牌的业绩受到极大压力,另一方面金沙古酒品牌对消费需求的粘性较低。
于是,为了提振业绩,金沙古酒开始在数字领域寻求探索,布局“元宇宙+酱酒”。
2022年4月9日,金沙古酒依托中青宝旗下全资子公司利得链稀元数字藏品平台独家推出金沙古酒系列数字藏品。
金沙古酒数字藏品持有用户可享有十二项专属权益,包括免费领取金沙古酒定制酒(125ml)一瓶、金沙古酒线上商城8折购酒权限10次、限量版纪念酒优先购买权限等等。其中,金沙古酒数字藏品发行更是宣传称:数量稀缺,限量发行,永不增发。
那么,金沙古酒这款数字藏品的发行量是多少?
据金沙古酒介绍,该款数字藏品的发行量为360万,藏品价格为99.9元/份,照这样计算下来,发行360万份可以实现销售收入3.5964亿元。
“物以稀为贵”,360万的发行量实在是令人震惊!要知道,金沙古酒的微博粉丝数才1.2万人,360万的发行量都可以让金沙古酒的每位粉丝每人收藏300份。
如果按照金沙古酒定下的2023销售目标为15亿元来计算,仅发行一款数字藏品就可以完成全年任务的24%左右,这也就可以理解金沙古酒为什么有底气给自己定下高额的营收目标。
值得一提的是,2022年3月4日洋河股份携手清博智能联合推出“梦之蓝手工班(大师)版”主题数字藏品,总计限量发行1368份,发售价格为13.68元/份。相比之下,让人不得不怀疑,金沙古酒的数字藏品有借机“割韭菜”的嫌疑。
金沙古酒没有“金沙古酒”商标?
金沙古酒因多次打金沙酒业的擦边球,双方曾多次“对簿公堂”。
2022年12月底,广东省深圳市中级人民法院曾作出民事判决,要求被告贵州金沙安底斗酒酒业有限公司、贵州金沙古酒酒业有限公司、深圳市百年慎初酒业营销有限公司、河南锐湾商贸有限公司立即停止侵害原告贵州金沙窖酒酒业有限公司第124667号、第9019810号、第12710481号注册商标专用权的行为(涉及商标主要为“金沙”及“金沙酱酒” )。其中,贵州金沙安底斗酒酒业有限公司为金沙古酒100%控股股东。
此外,江苏省苏州市中级人民法院也做出过民事判决,要求贵州金沙安底斗酒酒业有限公司、贵州金沙古酒酒业有限公司、深圳市百年慎初酒业营销有限公司、苏州仨生商贸有限公司四家公司立即停止侵害金沙酒业涉案注册商标专用权的行为;同时要求贵州金沙古酒酒业有限公司立即停止使用带有“金沙古酒”字样的企业名称;赔偿经济损失累计235万元,并责令贵州金沙安底斗酒酒业有限公司、贵州金沙古酒酒业有限公司、深圳市百年慎初酒业营销有限公司在《贵州日报》刊登声明,消除影响。
不仅如此,金沙古酒曾被多家酒企告上法庭。2021年,因侵害商标权纠纷,金沙斗酒、金沙古酒等被贵州茅台告上法庭。此前同样因侵害商标权纠纷,金沙斗酒、金沙古酒又被习酒告上法庭。
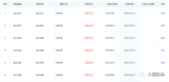
值得注意的是,大望财讯在企查查上查询发现,金沙古酒注册“金沙古酒”这一商标均显示“商标无效”,这也就意味着金沙古酒或许并不拥有“金沙古酒”这一商标。
目前金沙古酒产品主要包含慎初系列、金沙古系列(包含金沙古酒)。据企查查显示,“金沙”酒类商标已被金沙酒业注册。目前,金沙古酒申请的181个商标中仅“怀士堂”一个商标已注册,“金沙古酱”这一个的商标显示注册中,其余“金沙古”开头的商标绝大部分被标识为“商标无效”。
而早在2015年,北京市长安律师事务所刘东海律师在《“金沙古酒”傍上“金沙”酒》一文中详细阐述了“金沙古酒”侵权“金沙”商标使用权事件,文中提到,“斗酒厂对‘金沙古酒’的使用行为属于对未注册商标的使用,‘金沙古酒’未注册商标的显著部分为‘金沙’,是消费者识别该商标的主要要素。‘古酒’为酒类通用名称,使用在酒类商品上不具备显著性”。这有可能就是“金沙古酒”未能成功注册成为商标的原因。
金沙古酒如若启动IPO,商标或许成为其绕不过的一大难题。
不仅商标无效,金沙古酒还屡次被罚。
据金沙县应急管理局文件,2022年4月14日,金沙县应急管理局对金沙古酒的生产方“贵州金沙安底斗酒酒业有限公司”下发了重大事故隐患挂牌督办通知。
文件中提到,在安全生产执法检查中,发现该公司存在“陶坛库未安装乙醇蒸汽浓度监测报警装置”隐患,该隐患属重大事故隐患,要求按照相关规定整改到位。
5月24日,金沙县应急管理局对金沙古酒生产方处以17.7万元的罚款。
就在被金沙县应急管理局查处重大事故隐患的同日,毕节市生态环境局执法人员对金沙古酒生产方安底斗酒酒业公司也进行了现场执法检查。
检查发现,“在生产过程中停运污水处理设施,产生的污水通过污水处理设施前端的收集池收集后由罐车转运处置。”最终责令其自2022年6月8日起至2022年9月7日止限制生产。
这已经不是金沙安底酒业第一次环境违法了。2021年12月3日,因违反水污染防治管理制度,金沙斗酒被罚款39万元。彼时检测报告显示,金沙斗酒利用明渠排入厂区外设置的总排口冷却水总磷指标超标0.61倍,最终被罚39万元。
高速发展的同时,金沙古酒显然忽视了绿水青山就是“金山银山”,无序扩张的背后,金沙古酒的上市之路会顺利吗?







			
			
			
			
			
			