突然被警示,知名歌手胡海泉回应名下私募违规!从音乐人到“中国创投黑骑士”
来源:《商学院》杂志
经历过一个完整的周期,评判明星投资业绩的“验金石”也逐渐出现,退出成为基金普遍关注的问题。是顺应行业发展积极谋变转型,还是沦为“僵尸基金”夹缝中求生存?市场正在给出答案。
01
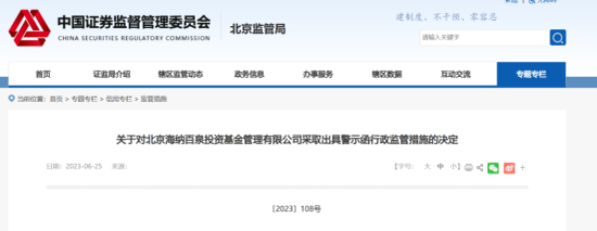
胡海泉创立私募基金被警示
知名歌手胡海泉旗下的私募基金翻车了?
有报道称,胡海泉名下私募基金北京海纳百泉投资基金管理有限公司(下称“海泉基金”)日前因多项违规行为收到中国证监会北京监管局的警示函。
根据警示函内容,主要存在两点问题:
第一,管理、运用私募基金财产,未能恪尽职守地履行诚实信用、谨慎勤勉的义务;
第二,未按照合同约定,如实向投资者披露可能影响投资者合法权益的其他重大信息。
北京证监局指出,上述行为违反了《私募投资基金监督管理暂行办法》(证监会令〔第105号〕,以下简称《暂行办法》)第三条、第四条之规定。依据《暂行办法》第三十三条之规定,该局决定对海泉基金采取责令改正行政监管措施。
北京证监局要求,海泉基金应进一步提高合规经营意识和能力,恪尽职守履行基金管理人职责,做好信息披露、基金退出和投资者沟通等工作,切实维护投资者合法权益。
据悉,私募基金,是指以非公开方式向特定投资者募集资金,并以特定目标为投资对象的投资基金。
对此,海泉基金通过官方微博回应称,“针对近日引发网络关注的有关我司被相关主管机构公开发布执业警示的新闻。我司本着有则改之无则加勉的原则已经第一时间完成了行业规范自查和整改工作,以及针对被诬陷投诉内容的申诉,并且得到行业主管部门的认可。”随后,胡海泉转发该文,并回应:清者自清,任重道远。
02
疑似淡出投资业务
值得注意的是,胡海泉名下的公司不是第一次“出事”了。
2021年12月,据中国执行信息公开网显示,近日,海泉基金新增一则被执行人信息,执行标的2115万余元,案号为(2021)京74执326号,执行法院为北京金融法院,但具体执行事由不详。该话题也冲上了微博热搜,引起众多网友关注。
据九派新闻报道,海泉基金被强制执行2115万余元一事发生后,海泉基金随即发表声明表示:“该执行信息,产生于我司在正常基金投资业务中,与合作机构之间的普通商业仲裁案件。该事件发生后,我司一直本着高度负责和尊重客观事实的态度,与该机构进行积极协商,被投资方也在积极持续回款中。我司有信心、也有能力在法律框架下妥善、完满地解决上述问题。”
2022年2月24日起,海泉基金股权接连被冻结,截至2022年3月冻结总数额已近1500万元。
据悉,海泉基金是由著名音乐人胡海泉跨界创立的专注于早期创新创业项目的股权投资系列基金。
根据中国证券投资基金业协会官网,海纳百泉投资2016年6月在中基协登记。机构类型为私募股权、创业投资基金管理人,全职员工数为6人,目前管理规模为0~5亿元。
海泉基金成立之初就成为明星跨界做创投的典范,在市场上颇为活跃,主要专注于人工智能、消费升级、医疗、文化等领域的投资,包括睿米科技、太火鸟、铜师傅、拓牛、音乐餐厅“胡桃里”,手术机器人“Remebot”等项目。
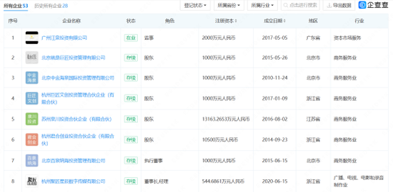
值得注意的是,尽管中基协信息显示海纳百泉投资的法定代表人、董事长仍为胡海泉,但是企查查显示,2021年10月,海泉基金法定代表人由胡海泉变更为尹承双,2022年2月,胡海泉退出海纳百泉投资第一大股东,为海纳百泉投资的执行董事,持股比例为25%。目前的股东尹承双持股比例为40%,其他两个股东分别是汪文忠和王昱。
此外,天眼查也显示,胡海泉在数十家企业任职,包括法人、监事、执行董事、经理、董事长等。而其任职企业中,业务范围覆盖较广,包括投资管理类、文化艺术类、食品类以及教育科技类等。
03
从音乐人到“中国创投黑骑士”
胡海泉1975年出生于辽宁沈阳,1998年与陈羽凡组成羽·泉组合。而作为创投圈的投资人,胡海泉也有近10年的布局历史。
据《证券时报》此前报道,胡海泉曾在接受媒体时坦言,名人的身份在投资上具有一定的特殊优势,比如接触范围较广,影响力、号召力、议价能力强,很多创业者主动上门,更易接触到稀缺资源。但即便如此,为了做好投资,他仍然阅读了大量的相关书籍,努力提升自己的专业水平。2016年,胡海泉因为顺利通过基金从业资格证考试而被多家媒体报道,引发网友热议。他也是为数不多担任私募基金高管的明星。
私募基金只是胡海泉商业版图的一部分,他和陈羽凡早期签约过滚石唱片、华谊兄弟,后来自主创办公司。北京巨匠文化股份有限公司成立于2010年1月4日,法定代表人为胡海泉。企查查显示,巨匠娱乐系一家以艺人经纪、娱乐整合营销为核心内容,同时涵盖自主音乐版权开发、节目制作等业务的创新型综合文化娱乐公司,拥有签约艺人羽泉、黄健翔、李响、李晨、郝云等。公司致力于打造具有市场竞争力的艺人及音乐产品,同时整合自身艺人优质娱乐资源,结合品牌营销策略,为各商务合作伙伴提供行之有效的整合营销解决方案。三年前爆红的综艺节目《这就是街舞》,该节目的出品方之一为巨匠文化公司。2021年登陆美国资本市场的普普文化(NQ:839170),也曾获得胡海泉的青睐。
紧跟形势的胡海泉还涉足了直播领域,并创办创新型MCN运营服务平台聚匠星辰。企查查显示,聚匠星辰成立于2020年6月,是一家基于新零售的创新型MCN运营服务平台,通过整合明星达人流量、供应链和内容营销资源,形成“明星+达人”的矩阵式直播带货生态,全方位赋能品牌营销。聚匠星辰曾获得小米、高榕等头部机构连续投资。当然,直播业务发展并非一帆风顺。
04
明星跨界做创投
演而优则商,近年来借演艺圈打出的名气和经济积累,跨界资本圈的明星投资人日渐增多。
2014年由任泉、黄晓明、李冰冰共同出资成立的明星风投机构Star VC,曾吸纳章子怡、黄渤作为合伙人,投资电商、金融、电竞等领域。
先后推出秒拍、小咖秀等移动视频领域应用的炫一下(北京)科技有限公司曾获Star VC投资,还曾引入赵丽颖担任公司副总裁。任泉也曾公开表示,“Star VC核心竞争力就是明星,要打造成为明星投资的联盟”。
天眼查信息显示,目前Star VC总裁为韦魏,累计管理6只基金,共投资了60余个项目,涉及21个行业,主要集中在电子商务、汽车交通、人工智能、文娱传媒、企业服务、医疗健康、金融、硬件等行业,其中投资较为高频的时间是在2017年前后,近年来公开投资频率也在下降,进入2023年尚未有新的投资动态更新。
此外,VC机构清流资本曾联合鹿晗、新希望集团共同成立清晗基金,针对新生代文化消费内容行业投资,其公开投资事件包括动漫衍生品及玩具周边垂直媒体及电商平台52TOYS等;杨颖曾发起AB Capital,重点投资关注新女性生活方式的创业公司。
知名主持人张泉灵在2015年宣布从央视离职后,以投资人的身份与猎豹移动董事长傅盛一起创办了紫牛基金,并担任创始合伙人。紫牛基金的公众号在今年5月也更名,变成了紫牛创投,目前共管理两只人民币基金,投资组合包括深至科技、伊鸿健康、艾尔普再生医学、拉面说、编程猫、混知等。目前紫牛医疗基金更为活跃,从成立以来专注于投资差异化医疗场景需求,通过技术升级和服务赋能,进行医疗供给侧扩容的创新企业。
05
公众人物更应注意形象维护
据《上海证券报》报道,国内一家私募股权投资公司相关人士表示:“明星们通常拥有着广泛的知名度和粉丝基础,这使得他们在对其公司品牌和产品的宣传方面具有得天独厚的优势。”此外,明星们往往还有着广泛的人脉关系和雄厚的资金基础。
有分析指出,私募股权投资的入门门槛比较低,投资周期长,而且以前这类私募管理人的操作空间也比较大,所以资金充裕或者有意进军投资圈的人,更倾向于选择股权类私募。另外,一些创业项目能够利用明星的品牌效应,在短期内获得业绩和知名度的快速提升,跨界股权投资的明星因此越来越多。
不过,投资分析师高嘉也对《北京商报》谈到,明星个人的负面新闻,也容易将其投资的项目卷入风波。近年来,市场对于投资的监管趋严,对相关资质的要求更高,私募公司取得投资者的信任和市场的认可,需要风险防守能力与业绩稳定性等硬实力。
上述私募股权从业人士对《上海证券报》表示,哪怕是一位在自己领域非常成功的演员或者歌手,都可能存在对于商业运营和投资方面缺乏相关经验的问题。而明星们往往时间和精力较为有限,使得他们难以全身心地投入到创投事业中。“一家合格的私募公司不仅需要具备专业投资团队,包括经验丰富的投资经理和研究员,此外还需要拥有持续良好的投资业绩。想真正赢得投资者的信任,需要在透明度、合规性、专业团队、风险管理、业绩回报等多个方面都拥有过硬的实力。”该人士表示。
经历过一个完整的周期,评判明星投资业绩的“验金石”也逐渐出现,退出成为基金普遍关注的问题。是顺应行业发展积极谋变转型,还是沦为“僵尸基金”夹缝中求生存?市场正在给出答案。
来源 |《商学院》杂志综合自北京商报、中国证券报、证券时报、上海证券报、深圳商报、九派新闻、证券时报·创业资本汇、企查查








