炒股就看金麒麟分析师研报,权威,专业,及时,全面,助您挖掘潜力主题机会!
来源:券业行家
刷屏!连发24份罚单,剑指八家同门私募两名责任人
继针对券商研报的监管风潮后,上海证监局雷霆出手,对八家关联私募及两名责任人员下发24份罚单。
刷屏处罚
浏览上海证监局官网,行家发现监管处罚栏近半年时间里仅有三则更新。然而,近期上海证监局同一天连更了24份监管处罚决定,编号从沪〔2023〕4号发到了沪〔2023〕27号。
从罚单“抬头”来看,共涉及八家私募机构——上海景时股权投资基金管理有限公司(简称:景时基金)、上海景润股权投资基金管理有限公司(简称:景润基金)、上海景旻股权投资基金管理有限公司(简称:景旻基金)、上海景昱股权投资基金管理有限公司(简称:景昱基金)、上海景晨股权投资基金管理有限公司(简称:景晨基金)、上海景璨股权投资基金管理有限公司(简称:景璨基金)、上海景沣股权投资基金管理有限公司(简称:景沣基金)和上海景浩股权投资基金管理有限公司(简称:景浩基金),以及两名责任人员胡某岗、黄某波。
单从名字上看,这就是“组团出道”的系列。
股权穿透显示,景时基金、景润基金、景昱基金和景旻基金唯一股东均为上海景城置业有限公司(简称:景城置业)。
景城置业唯一股东为上海景荣投资控股有限公司(简称:景荣投资),其全资子公司景荣资本管理有限公司(简称:景荣资本),为景璨基金全资股东。
景浩基金唯一股东上海景荣资产管理有限公司(简称:景荣资产),与景沣基金同样是景荣投资的全资子公司。
在这一系列机构的股东和高管名单中,反复出现的胡健岗和黄金波,以1:1创立的上海沣涌投资管理有限公司(简称:沣涌投资),则是景晨基金唯一股东。
通过交叉持股,共同投资和高管兼任,八家私募俨然是“一荣俱荣,一损俱损”的整体,并指向两位实控的自然人。
组团设坑
细看监管罚单,景时基金和景润基金,两家私募违规的事项基本重合,均涉及从事损害基金财产和投资者利益的投资活动,未按规定履行信息披露义务,未按要求报送年度财务报告和未妥善保存私募基金业务相关资料四项。
经查,2017年6月,景润基金发起成立景润优选资产并购私募基金1号、景润优选资产并购私募基金2号(下称“景润优选1号、2号”),并履行了私募基金备案手续,备案的基金类型均为私募股权投资类FOF基金。2016年2月,景时基金发起成立上海景时胜彤投资中心(有限合伙)(简称:景时胜彤),并履行了私募基金备案手续,备案的基金类型为私募股权投资基金。
景润优选1号、2号认购景时胜彤合伙份额,景时胜彤通过胡某岗、黄某波控制的另一合伙企业上海传斯祁雅投资中心(有限合伙)(简称:传斯祁雅),间接投资杭州千岛湖立元置业有限公司(简称:千岛湖置业)。投资过程中,传斯祁雅形成对千岛湖置业的大额债权。同时,景时基金作为执行事务合伙人的合伙企业上海景时明江投资中心(有限合伙)(简称:景时明江)、上海景时明锦投资中心(有限合伙)(简称:景时明锦)分别欠付所投资的农工商房地产集团宁波置业有限公司(简称:宁波置业)、农工商房地产集团北仑置业有限公司(简称:北仑置业)债务。2018年7月,传斯祁雅以其对千岛湖置业的债权抵销了景时明江、景时明锦对宁波置业、北仑置业所欠债务,抵销金额高达约1.254亿元,占景润优选1号、2号募集资金(2.998亿元)的41.82%(下称“抵销事项”)。
上海证监局指出,景时基金、景润基金未恪尽职守、未履行谨慎勤勉的义务,抵销事项直接大幅减损传斯祁雅的财产价值,进而分别损害了景时胜彤、景润优选1号、2号的基金财产和投资者利益。景时基金未向投资者披露损害基金财产和投资者利益的抵销事项,构成未披露可能影响投资者合法权益的重大信息。
根据景润优选1号、2号《基金合同》约定,景润基金作为信息披露义务人,应当在临时报告中向投资者披露“可能影响基金委托人利益的重大事项”。景润基金未向投资者披露损害基金财产和投资者利益的抵销事项,构成未披露可能影响基金委托人利益的重大事项。
截至2022年8月,除上海景时仙华投资中心(有限合伙)外,景时基金所管理的存续产品均未披露2019年至2021年的年度报告。除中航华府项目专项私募基金A类外,景润基金所管理的存续产品同样未披露2019年至2021年的年度报告。
景时基金、景润基金均未报送2019年年度财务报告、2020年年度财务报告和2021年年度财务报告。
景时优选资产并购私募基金1号、景时优选资产并购私募基金2号、中粮地产深圳光明新区云景国际项目专项私募基金A7类、景沣国际1号专项私募基金A类二期的基金合同、投资者适当性管理资料存在部分缺失情况。相关资料缺失的投资者数量占景时基金存续产品的投资者比例为46.65%。而景润常盈善时甄选私募基金1号、景润常盈精益甄选私募基金1号、中航华府项目专项私募基金B类二期、景润优选1号、景润常盈海益惠选私募基金1号、中航华府项目专项私募基金A类、景润优选2号的基金合同、投资者适当性管理资料存在部分缺失情况,相关资料缺失的投资者数量占景润基金存续产品的投资者比例为15.79%。
数罪并罚之下,上海证监局对景时基金、景润基金分别采取责令改正,给予警告,并处以八万元罚款的监管措施。
在责任人方面,黄金波作为景时基金实际控制人,责令改正,给予警告,并处以八万元罚款。胡健岗作为景时基金时任法定代表人、执行董事、经理、实际控制人,给予警告,并处以八万元罚款。两人作为景润基金的实际控制人,自2019年起实际承担了景润基金存续产品的日常管理工作。上海证监局对两人分别给予警告,并处以八万元罚款。
信披违规
其余六家私募中,景旻基金、景昱基金、景璨基金、景沣基金和景浩基金,均存在未按合同约定履行信息披露义务,未按要求报送2019年至2021年度财务报告,未妥善保存私募基金业务相关资料的三项违规。
为此,上海证监局对五家私募分别采取责令改正,给予警告,并处以三万元罚款的监管措施。
景晨基金仅有一项违规,即未报送2019年至2021年度财报,上海证监局对其予以警示,罚款一万元。
作为以上私募基金的主要高管、实控人,上海证监局对胡健岗、黄金波分别予以警告和罚款,处罚力度与各家私募相同。
何方人士
通过中基协备案信息,行家发现胡健岗和黄金波实控或任高管的私募机构至少有九家。成立较早的景时基金和景润基金,管理规模在20亿-50亿之间。值得注意的是,这些私募均有红字提示,涉及失联、异常经营、信息报送异常、高管无证等情况。
而这两位私募人士的履历背景,行家也颇为感兴趣。
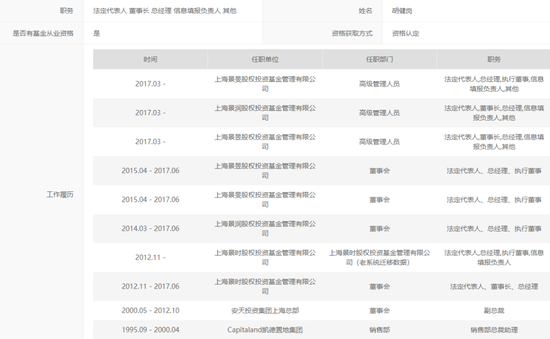
据企查查信息,黄金波出生于辽宁省丹东市,本科毕业于复旦大学生命科学学院,在复旦大学经济学院获得经济学硕士学位。行家查看了景润基金在中基协备案的高管履历,他曾任职于美林证券中国代表处,上海投资咨询公司,中国风险投资研究院华东区首席代表,泛华基金上海分公司总经理。
胡健岗的履历显示,他曾任Capitaland(凯德置地集团)销售部总裁助理,安天投资集团上海总部副总裁。此外,其从业资质来自资格认定。











